Dynamic Subscription revoking provision

This feature enables 5G network to revoke subscription of specific UE. It is required that user identifies the IP-Address of specific UE to be disabled. The custom user application can make available the IP-Address of specific UE to 5G core network via Metric-Function API. The 5G network shall revoke the specific UE’s subscription based on UE IP-Addresses received.

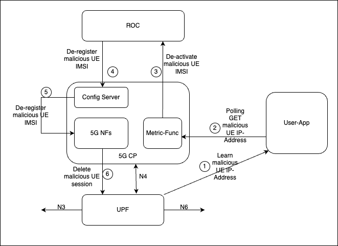
Following diagram show one such use case of identifying malicious UE and then revoking its subscription from 5G core.

../_images/rogue-subscriber.png
  • The UPF shall detect malicious UE IP-Address and the user application shall learn it.

  • The user application shall maintain the malicious subscriber’s IP Address.

  • The Controller functionality of the MetricFunction shall keep polling the user application to fetch malicious subscriber’s IP Address.

  • The metricfunc manages all subscriber contexts, so the Controller identifies the IMSI associated to malicious Subscriber IP.

  • The MetricFunc Pod notifies the ROC to disable the SIM Card associated with malicious subscriber.

  • ROC updates the Config Server(webui) with updated Device Group(s) and slice(s) information.

  • AMF initiates a network-triggered deregistration procedure to detach the UE from the 5G core.

The Metric-Function configuration to poll the user application

userAppApiServer:
  addr: "userapp.omec.svc"
  port: 9301
rocEndPoint:
  addr: "aether-roc-umbrella-aether-roc-gui-v2-1-external.aether-roc.svc"
  port: 80