5G - 3GPP Release Compliance

High Level Summary

  • Service based Interfaces supported
    • Nnssf, Nnrf, Npcf, Nudm, Nausf, Namf, Nsmf

../_images/5G_Interfaces.png
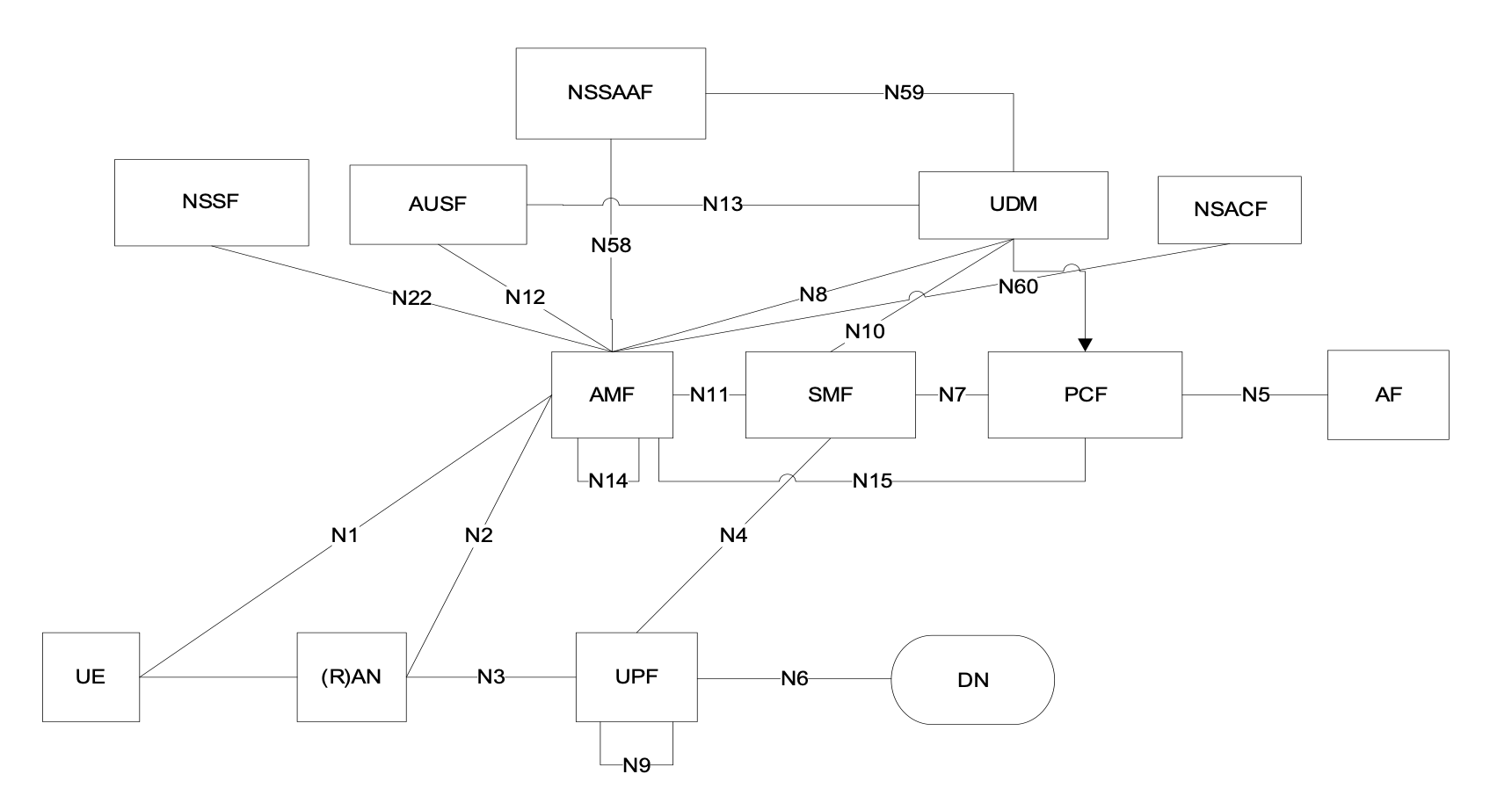
  • Reference model based Interfaces supported
    • N1, N2, N3, N4, N6, N7, N8, N9, N10, N11, N12, N13, N15, N22

../_images/5G_Arch_reference_model.png
  • Unified Data Repository (UDR) Interfaces supported
    • N8, N10, N13, N21, N35, N36, N37

  • NF supported
    • AMF, NRF, SMF, PCF, UDM, UDR, NSSF, AUSF

  • NF not supported
    • NEF, NWDAF, CHF, N3IWF, UDSF, AF

  • High Level Features supported
    • UE Registration

    • UE De-Registration

    • PDU Session Establishment/Modification/Release

    • AN Release

    • Network triggered Service Request

    • Xn based inter NG-RAN handover

  • High Level Features Not supported
    • Charging Interfaces

    • Lawful Intercept

    • URLLC (Ultra Low Level Latency Communication)

    • Location Based Services

    • Inter NG-RAN node N2 based handover

    • TSN ( Time Sensitive Networking)

    • Non-3gpp access

SMF Compliance

  • Specifications
    • 23.501

    • 23.502

    • 29.502

    • 29.244 (PFCP)

    • 23.527 - Restoration

  • Interfaces
    • SBI : Yes

    • N4(UPF), N7(PCF), N10(UDM), N11(AMF) : Yes

    • N16(SMF) : No

  • Services
    • PDU Session Management

    • Event Exposure

    • NIDD

  • Service Operations
    • PDU Session Management
      • SM contexts collection
        • Create SM Context : Yes

      • Individual SM context
        • Retrieve SM Context : No

        • Update SM Context : Yes

        • Release SM Context : Yes

        • Notify SM Context Status : Yes

        • Send MO Data : No

      • PDU sessions collection
        • Create : No

      • Individual PDU session
        • Update : No

        • Release : No

        • Notify Status : No

        • Retrieve : No

        • Send MO Data: No

        • Transfer MO Data : No

        • Transfer MT Data : No

    • Event Exposure
      • No

    • NIDD
      • No

  • Not supported Features
    • Charging interface

    • 5G VN Group communication

AMF Compliance

  • Specification References
    • 23.501

    • 23.502

    • 29.518 (AMF Services)

    • 29.507 (AMF to PCF interface)

  • Interfaces
    • SBI : Yes

    • N11(SMF), N15(PCF), N8(UDM), N12(AUSF), N22(NSSF), N2(AN/NGAP), N1(UE/NAS) : Yes

    • N14(AMF), N58(NSSAAF) : No

  • Services
    • Communication

    • Event Exposure

    • Mobile Terminated

    • Location

  • Service Operations
    • Communication
      • UE Context Transfer : Yes

      • Registration Status Update : Yes

      • N1N2 Message Transfer (UE Specific) : Yes

      • N1N2 Transfer Failure Notification (UE Specific) : Yes

      • N1N2 Message Subscribe (UE Specific) : Yes

      • N1N2 Message Unsubscribe (UE Specific) : Yes

      • N1 Message Notify (UE Specific) : Yes

      • N2 Info Notify (UE Specific) : Yes

      • Non Ue N2 Message Transfer : No

      • Non Ue N2 Info Subscribe : No

      • Non Ue N2 Info Unsubscribe : No

      • N2 Info Notify : No

      • EBI Assignment : Yes

      • Create UE Context : Yes

      • Release UE Context : Yes

      • Relocate UE Context : No

      • Cancel Relocate UE Context : No

      • AMF Status Change Subscribe : Yes

      • AMF Status Change Unsubscribe : Yes

      • AMF Status Change Notify : Yes

    • Event Exposure
      • Subscribe : Yes

      • Unsubscribe : Yes

      • Notify : Yes

    • Mobile Terminated
      • Enable UE Reachability : No

      • Provide Domain Selection Info : Yes

    • Location
      • Provide Positioning Info : No

      • Event Notify : No

      • Provide Location Info : Yes

      • Cancel Location : No

  • Consumer Service Operations
    • PCF
      • AM Policy Control Create : Yes

      • AM Policy Control Delete : Yes

      • AM Policy Control Update : Yes

    • NRF
      • NF Registration : Yes

      • NF De-Registration : Yes

      • NF Selection : Yes

    • SMF
      • Create SM Context : Yes

      • Update SM Context : Yes

      • Release SM Context : Yes

    • AUSF
      • UE Authentication Auth Request : Yes

      • 5G AKA Confirm Request : Yes

      • EAP Auth Confirm Request : Yes

    • UDM
      • UE CM Registration : Yes

      • SDM Subscribe : Yes

      • Get UE Context In SMF Data : Yes

      • Get SMF Selection Data : Yes

      • Get AM Data : Yes

      • Get SliceSelection Data : Yes

    • NSSF
      • Selection Data For Registration : Yes

Note

Interface to EIR not supported. Interface between AMF/AMF not supported. 4G to 5G handover not supported.

NRF Compliance

  • Specifications
    • 29.510

  • Interfaces
    • SBI : Yes

    • N27(NRF) : No

  • Services
    • NF Management

    • NF Discovery

    • Access Token

    • Bootstrapping

  • Service Operations
    • NF Management
      • NF Register : Yes

      • NF Update : Yes

      • NF Deregister : Yes

      • NF Status Subscribe : Yes

      • NF Status Notify : No

      • NF Status Unsubscribe : Yes

      • NF List Retrieval : Yes

      • NF Profile Retrieval : Yes

    • NF Discovery
      • NF Discover : Yes

    • Access Token
      • Access Token Request : Yes

    • Bootstrapping
      • Bootstrapping Get : No

AUSF Compliance

  • Specifications
    • 33.501

    • 29.509

  • Interfaces
    • SBI : Yes

    • N12(AMF), N13(UDM) : Yes

  • Services
    • UE Authentication

    • SoR Protection

    • UPU Protection

  • Service Operations
    • UE Authentication
      • Authenticate : Yes

      • Deregister : No

    • SoR Protection
      • Protect : No

    • UPU Protection
      • Protect : No

UDR Compliance

  • Interfaces
    • SBI : Yes

    • N35(UDM), N36(PCF) : Yes

    • N37(NEF) : No

  • Services
    • Data Repository

    • Group IDmap

  • Service Operations
    • Subscription Data Repository
      • Query : Yes

      • Create : Yes

      • Delete : Yes

      • Update : Yes

      • Subscribe : Yes

      • Unsubscribe : Yes

      • Notify : Yes

    • Policy Data Repository
      • Query : Yes

      • Create : Yes

      • Delete : Yes

      • Update : Yes

      • Subscribe : Yes

      • Unsubscribe : Yes

      • Notify : Yes

    • Exposure Data Repository
      • Query : No

      • Create : No

      • Delete : No

      • Update : No

      • Subscribe : No

      • Unsubscribe : No

      • Notify : No

    • Application Data Repository
      • Query : Yes

      • Create : Yes

      • Delete : Yes

      • Update : Yes

      • Subscribe : Yes

      • Unsubscribe : Yes

      • Notify : Yes

    • Group IDmap
      • Query : No

UDM Compliance

  • Specification
    • 29.503 - 5G System; Unified Data Management Services; Stage 3

  • Interfaces
    • SBI : Yes

    • N8(AMF), N10(SMF), N13(AUSF), N60(PCF): Yes

    • N59(NSSAAF) : No

    • N21 (SMSF) : No

  • Services
    • Subscriber Data Management

    • UE Context Management

    • UE Authentication

    • Event Exposure

    • Parameter Provision

    • NIDD Authorization

    • MT

  • Service Operations
    • Subscriber Data Management
      • Get : Yes

      • Subscribe : Yes

      • ModifySubscription : Yes

      • Unsubscribe : Yes

      • Notification : Yes

      • Info : Yes

    • UE Context Management
      • Registration : Yes

      • DeregistrationNotification : Yes

      • Deregistration : Yes

      • Get : Yes

      • Update : Yes

      • P-CSCF Restoration Notification : No

      • P-CSCF Restoration Trigger : No

      • AMF Deregistration : Yes

      • PEI Update : No

    • UE Authentication
      • Get : Yes

      • GetHssAv : No

      • Result Confirmation : Yes

    • Event Exposure
      • Subscribe : Yes

      • Unsubscribe : Yes

      • Notify : Yes

      • Modify Subscription : Yes

    • Parameter Provision
      • Update : Yes

      • Create : No

      • Delete : No

      • Get : No

    • NIDD Authorization
      • Get : No

      • Notification : No

    • MT
      • Provide Ue Info : No

      • Provide Location Info : No

NSSF Compliance

  • Specifications
    • 29.531

  • Interfaces
    • SBI : Yes

    • N22(AMF) : Yes

    • N31(NSSF): No

  • Services
    • NS Selection

    • NSSAI Availability

  • Service Operations
    • NS Selection
      • Get : Yes

    • NSSAI Availability
      • Update : Yes

      • Subscribe : Yes

      • Unsubscribe : Yes

      • Notify : No

      • Delete : Yes

      • Options : No

PCF Compliance

  • Specifications
    • 23.501

    • 23.502

    • 23.503

    • 29.507

    • 29.512

    • 29.513

    • 29.514

  • Interfaces
    • SBI : Yes

    • N7(SMF), N15(AMF), N60(UDM), N36(UDR) : Yes

    • N5(AF) : No

  • Services
    • AM Policy Control : Yes

    • SM Policy Control : Yes

  • Service Operations
    • SM Policy
      • SM Policy Control Create : Yes

      • SM Policy Control Update : No

      • SM Policy Control Update Notify : No

      • SM Policy Control Delete : Yes

    • AM Policy
      • AM Policy Control Create : Yes

      • AM Policy Control Update : No

      • AM Policy Control Update Notify : No

      • AM Policy Control Delete : Yes